МО, ЖК Бутово Парк, 8к1

Основание для светильника Lightstar Rullo 590056

(0)
Код товара: 590056
Наличие: много
Lightstar
699 руб. / шт.
До конца акции осталось:
00дн.
00час.
00мин.
Артикул 590056
Бренд Lightstar
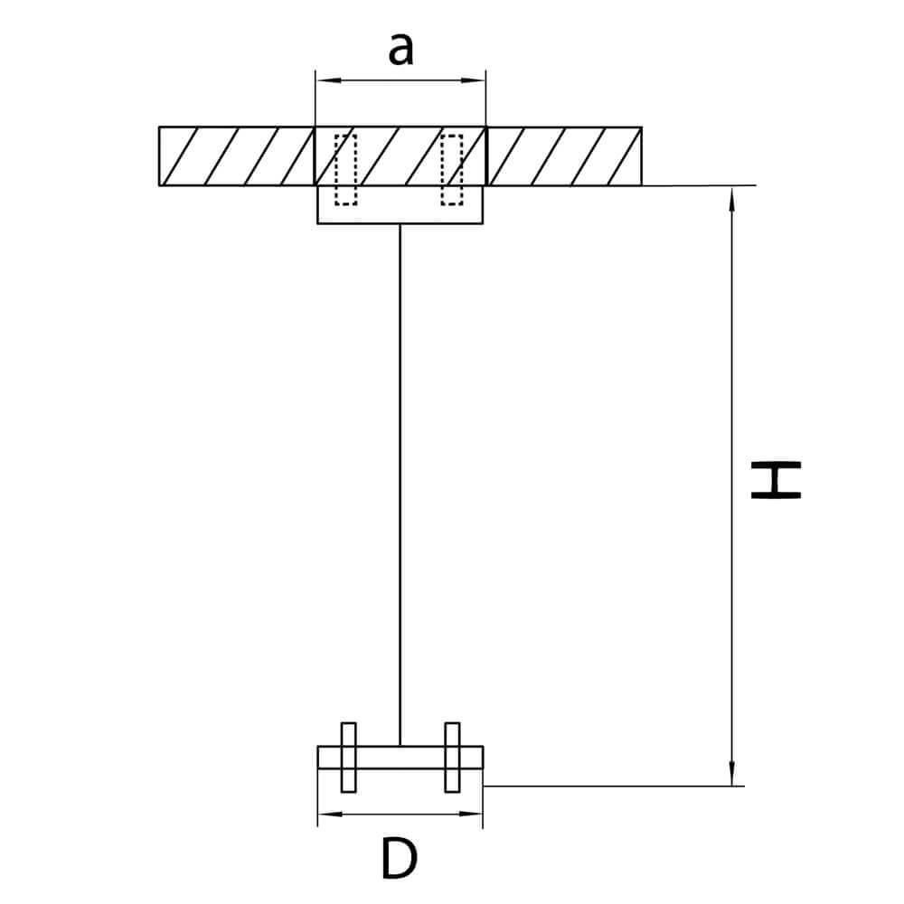
Высота, мм 20
Диаметр, мм 55
Коллекция Rullo
Стиль светильника Хай-тек
Подарок при покупке
Дарим подарок при покупке данного товара
Выбрать подарок
Основание для светильника Lightstar Rullo 590056
Основание для светильника Lightstar Rullo 590056
(0)
Наличие: много
699 руб. / шт.
Артикул 590056
Высота, мм 20
Диаметр, мм 55
Интерьер Для кухни
Коллекция Rullo
Место установки На потолок
Степень защиты по IP IP20
Стиль светильника Хай-тек
Цвет Белый
Виды материалов Металлические
Италия
Длина (упаковки), см 15
Ширина (упаковки), см 15
Высота (упаковки), см 6.5
Вес 0.089
Штрихкод 8050046563658
Подберите похожие по характеристикам товары, выбрав одно или несколько свойств
Выбрано: 0